DYM3型空盒气压表使用说明书
- 2017-07-15 09:31:00
- 凯迪莱特仪器 原创
- 9922
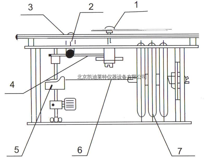
一、仪器结构

1、指针 2、附温表3、表盘 4、扇齿
5、调倍器6、连杆 7、真空膜盒组
二、工作原理
空盒气压表以真空膜盒作为感应元件,它将大气压力变化转换成膜盒的弹性位移,通过杠杆与传动机构使指针作旋转移动。当真空膜盒弹性与大气压力相平衡时,其指针所指示的气压值经过订正就是当地当时的大气压力值。
三、技术规格
1.测量范围:800hPa~1060hPa;
2.使用温度范围:-10 0C+40℃;
3.测量误差:经温度、示度订正和补充订正后其误差不大于2.0hPa;
4.表盘最小分度值:1hPa;
5.附温度最小分度值:1℃;
6.仪器重量不大于1.1kg;
7.仪器尺寸:170mm×170mm×145mm
四、使用须知
1、安装:仪器工作时必须水平放置,防止由于任意方向倾斜而造成的仪器读数误差。
2、使用:进行气压和温度读数时,应注意下列事项:
(1)为了消除传动机构中的摩擦,在读数时轻敲仪器外壳或玻璃。
(2)读数时观测者视线必须与衷盘平面垂直。
(3)气压读数必须精确到小数第一位。
(4)附温表读数必须精确到小数第一位。
(5)气压值的计算:(仪表上读取的气压值必须经过下列订正)。
a.温度订正一△Pt=a.t
式中a—温度系数(检定证书上注有)
T—当时附温表读数
b.示度订正一△Ps(根据检定证书上的示度修正值,用内插法求得)
c.补充订正一△Pd(检定证书上注有)
d.订正后气压值由下列公式求出:
P=Ps+(△Pt+△Ps+△Pd)
式中:Ps为仪表上读取的气压值。
※仪器示值的订正举例在本说明书最后一部分,仅做参考。
3、检查与维修:仪器补充订正值,不得超过一年使用期限。超过时必须重新进行检定,在检定证上填入新的补充订正值。
五、保管包装和运输
1、仪器必须存放在空气干燥、无腐蚀性气体和无剧烈震动的地方。
2、仪器包装箱内必须填以减震物,箱外标注有“精密仪器、小心轻放”等引起注意的字样或标志。
3、仪器可以采用除空运外的其他任何运输方法。
六、仪器的成套性
1.空盒气压表 1台
2.产品使用说明书 1份
3.产品检定证书 1份
4.仪器箱 1个
七、保修
从制造厂发货日期起,用户在遵守保管、包装运输和使用规则的条件下,于12个月内若发现与本产品技术条件不符合之处,制造厂应无偿地为用户更换或修理。
附:仪器示值订正举例
设在气压表检定证书反面填有下列数据:
(1)温度系数:-0.06hPa/℃
(2)示值修正值
仪器示值(hPa) |
订正直(hPa) |
仪器示值(hPa) |
订正值(hPa) |
1050 |
-1 |
920 |
+0.3 |
1040 |
-0.5 |
900 |
+0.3 |
1020 |
00 |
890 |
0.0 |
1010 |
0.0 |
870 |
-0.3 |
1000 |
+0.1 |
860 |
-0.1 |
980 |
+0.3 |
850 |
0.0 |
970 |
+0.7 |
840 |
-0.3 |
960 |
+0.9 |
820 |
-0.5 |
940 |
+0.5 |
810 |
-0.8 |
930 |
+0.3 |
800 |
-1.0 |
(3)补充修正值+0.9hPa
例:气压表的示值为气压963.2hPa, 温度16.5 0C。
根据检定证内的示值修正值,当气压为960hPa时,刻度订正值为+0.9hPa(内插法并精确到小数第一位数值),
在此当气压示值为963.2hPa时,示值修正值可以近似为+0.8hPa,温度修正值为-0.06×16.5=-1.0hPa(精确到小数第一位数值),在检定证(3)项内填有补充订正值+0.9hPa。
经过全部订正后的仪器示值为:
963.2+0.8-1.0+0.9=963.9hPa。
此数值963.9hPa为当地当时大气压值。
北京凯迪莱特仪器设备有限公司
地址:北京市通州区张家湾镇
电话:010-56141242 手机:18610189634
QQ:1979990127 网址:www.kd1718.com
| 联系人: | 李斌 |
|---|---|
| 电话: | 15611259702 |
| Email: | 2013990721@qq.com |
| QQ: | 2013990721 |

